Sostieni il forum con una donazione! Il tuo contributo ci aiuterà a rimanere online!
Immagine

Dumble SE con GU50 (???)

Discussioni di carattere generale sugli amplificatori valvolari...
Avatar utente
Dom
Roger Mayer Jr.
Roger Mayer Jr.
Messaggi: 2034
Iscritto il: 07/09/2013, 15:38
Località: Abruzzo (Te)

Re: Dumble SE con GU50 (???)

Messaggio da Dom » 18/10/2023, 21:30

... Credo che sia la soluzione piú versatile adeguata a questo progetto.
Se qualcuno vuole far andare i filamenti in continua, può sempre aggiungere un piccolo trafo a parte dedicato a tal proposito.

... Dato che, se andiamo di alternata, gli spazi ci devono essere cmq. Quindi, nel caso, un piccolo T.A. aggiuntivo lo si può sempre mettere.

Bel lavoro Franco!

Avatar utente
Kagliostro
Amministratore
Amministratore
Messaggi: 9955
Iscritto il: 03/12/2007, 0:16
Località: Prov. di Treviso

Re: Dumble SE con GU50 (???)

Messaggio da Kagliostro » 18/10/2023, 22:04

Se non ricordo male la parte del circuito con il triodo che pilota la finale è definita e quindi se la posti qui quando sono ispirato potrei andare avanti con il layout

Per quanto riguarda quel triodo che avanza hai pensato come usarlo ? Hai una destinazione definitiva di cui puoi postare lo schema ?

Franco

Avatar utente
robi
Amministratore
Amministratore
Messaggi: 9749
Iscritto il: 17/12/2006, 13:57
Località: Alba

Re: Dumble SE con GU50 (???)

Messaggio da robi » 19/10/2023, 14:54

Ciao,

c'è stata qualche evoluzione dopo il circuito che avevo proposto con l'uscita bilanciata che faceva anche da buffer per il loop, più stadio di guadagno sul ritorno?

Avatar utente
Kagliostro
Amministratore
Amministratore
Messaggi: 9955
Iscritto il: 03/12/2007, 0:16
Località: Prov. di Treviso

Re: Dumble SE con GU50 (???)

Messaggio da Kagliostro » 19/10/2023, 16:24

Da parte mia non ho azzardato altre ipotesi oltre a quella di mettere eventualmente in parallelo i due triodi per pilotarci la finale

Come numero di valvole direi di restare su 3 (oltre alla finale), eviterei altre aggiunte

L'uscita bilanciata se realizzabile con un solo triodo a me starebbe bene

Se qualcuno vuol fare altre proposte si faccia avanti, di possibilità ce ne sono

Nel caso vada bene l'uscita bilanciata indicatemi uno schema su cui basarmi per il layout

Franco

Avatar utente
robi
Amministratore
Amministratore
Messaggi: 9749
Iscritto il: 17/12/2006, 13:57
Località: Alba

Re: Dumble SE con GU50 (???)

Messaggio da robi » 19/10/2023, 16:49

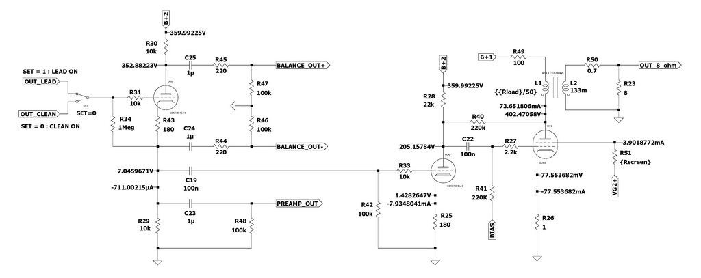
Ciao, non servono due triodi per pilotare la finale.
Lavorando in pentodo hai molto guadagno e capacità di ingresso ridotte, i 9 mA del mio progetto bastano ed avanzano.

Qui lo schema: viewtopic.php?f=22&t=11331&p=126536&#p126536

Immagine

Avatar utente
Kagliostro
Amministratore
Amministratore
Messaggi: 9955
Iscritto il: 03/12/2007, 0:16
Località: Prov. di Treviso

Re: Dumble SE con GU50 (???)

Messaggio da Kagliostro » 19/10/2023, 17:47

Sì, sicuro, è che a meno di metterci una 6AV6 resta un triodo disoccupato

Il metterli in parallelo era solo un'ipotesi in assenza di miglior destinazione di quel triodo

Anche un BEND (come nello Steelphone) ci si potrebbe fare, ma ci sarà sicuramente qualche modo utile in cui impegnarlo, se si va per l' uscita bilanciata a me va bene, basterebbe avere lo schema da seguire per il layout (a meno che non vi sembri più interessante qualcosa d'altro

Franco

Avatar utente
robi
Amministratore
Amministratore
Messaggi: 9749
Iscritto il: 17/12/2006, 13:57
Località: Alba

Re: Dumble SE con GU50 (???)

Messaggio da robi » 19/10/2023, 20:16

Ciao Franco, lo schema é nel post precedente.

Avatar utente
Kagliostro
Amministratore
Amministratore
Messaggi: 9955
Iscritto il: 03/12/2007, 0:16
Località: Prov. di Treviso

Re: Dumble SE con GU50 (???)

Messaggio da Kagliostro » 19/10/2023, 21:13

Quindi faccio riferimento a quello ?

Perché, onestamente non mi ci trovo, io ricordo un solo triodo per pilotare la finale e nello schema qui sopra mi sembra di vederne due e non vedo un' uscita bilanciata

Almeno a me sembra così

Franco

Avatar utente
Kagliostro
Amministratore
Amministratore
Messaggi: 9955
Iscritto il: 03/12/2007, 0:16
Località: Prov. di Treviso

Re: Dumble SE con GU50 (???)

Messaggio da Kagliostro » 19/10/2023, 21:28

Questo va bene come riferimento ?

download/file.php?id=15547&mode=view

Franco

Avatar utente
robi
Amministratore
Amministratore
Messaggi: 9749
Iscritto il: 17/12/2006, 13:57
Località: Alba

Re: Dumble SE con GU50 (???)

Messaggio da robi » 20/10/2023, 13:28

Ciao Franco, il circuito che hai linkato è esattamente il mio circuito, inserito da Dom nel suo file.
Se lo guardi bene è identico.

Avatar utente
Kagliostro
Amministratore
Amministratore
Messaggi: 9955
Iscritto il: 03/12/2007, 0:16
Località: Prov. di Treviso

Re: Dumble SE con GU50 (???)

Messaggio da Kagliostro » 20/10/2023, 13:43

Ah, sì, ma mancando la parte dell'uscita ero in confusione





Franco
Allegati
PROVA TRUMBLE SE - SCHEMA 4 - Output & Power Section.jpg
PROVA TRUMBLE SE - SCHEMA 4.jpg

Avatar utente
Kagliostro
Amministratore
Amministratore
Messaggi: 9955
Iscritto il: 03/12/2007, 0:16
Località: Prov. di Treviso

Re: Dumble SE con GU50 (???)

Messaggio da Kagliostro » 20/10/2023, 18:56

Per questione di praticità riporto qui il layout disegnato finora


immagine_2023-05-18_232921422.png

Da questo partirò come base da completare con l'aggiunta dell'uscita bilanciata, del triodo che pilota la finale e della finale

Come da schema penso che per il Layout mi atterrò ad un Fixed Bias ma, come mi pare di aver già detto in passato, considererei anche un Mixed Bias

Franco

Avatar utente
Dom
Roger Mayer Jr.
Roger Mayer Jr.
Messaggi: 2034
Iscritto il: 07/09/2013, 15:38
Località: Abruzzo (Te)

Re: Dumble SE con GU50 (???)

Messaggio da Dom » 21/10/2023, 10:39

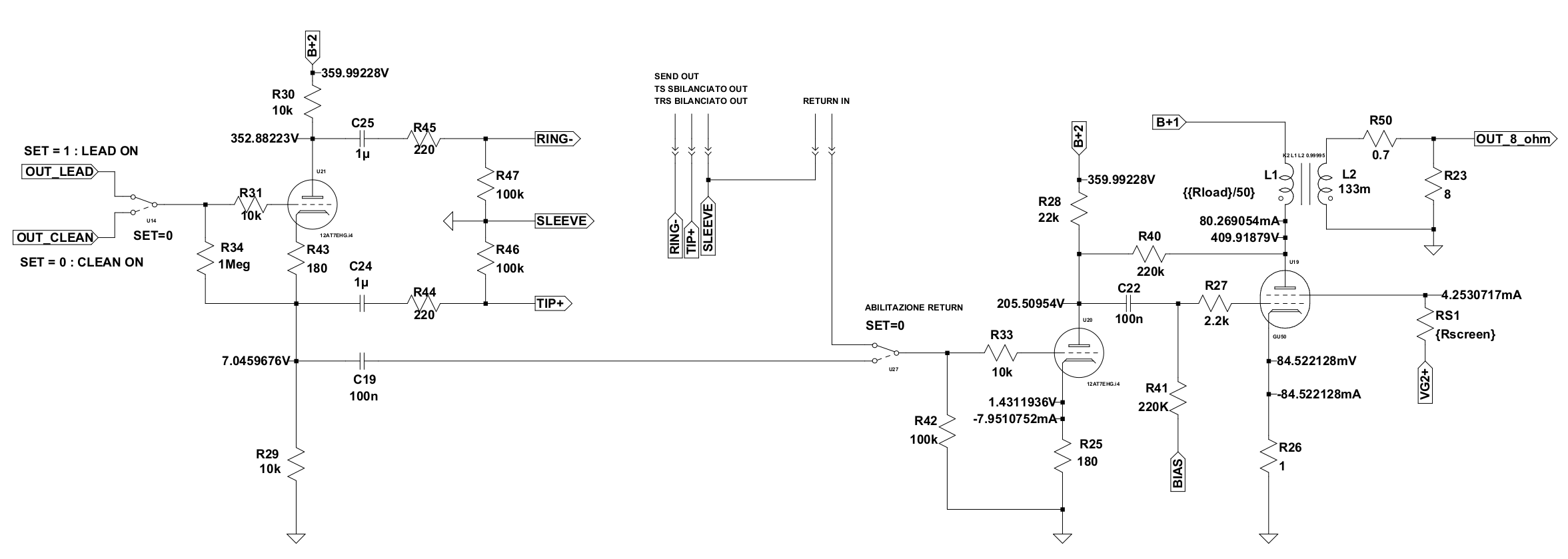
Ciao Ragazzi,

posto gli schemi aggiornati riguardo le modifiche che si vogliono apportare.

Avrei pensato alla possibilità di sfruttare l'uscita bilanciata / sbilanciata per dare maggiore versatilità all'utente finale.

Potremmo aggiungere 2 prese jack ( di cui una TRS ) + uno switch SPDP per poter scegliere 2 tipi di funzionamento:

1 - Si manda un'uscita "contemporanea" ad una possibile DAC ( TRS bilanciato ) oppure ad un finale a rack P.P. ( TS sbilanciato )

2 - Si manda un'uscita "seriale" ad un possibile multieffetto a rack ( TRS bilanciato ) che abbia la possibilità di dosare il segnale al suo interno tramite i classici controlli di "WET" e "DRY". Oppure ad un DUMBULATOR ( TS sbilanciato ).

Il tutto sarebbe possibile farlo anche con 2 sole prese a pannello jack. Io, per praticità, ho disegnato il tutto avvalendomi di uno switch separato.

TRUMBLE SCHEMA 4.1.png
...Ovviamente i voltaggi sono indicativi.
TRUMBLE SCHEMA 4.2.png
Può andare l'uscita bilanciata come è da schema?

Avatar utente
Kagliostro
Amministratore
Amministratore
Messaggi: 9955
Iscritto il: 03/12/2007, 0:16
Località: Prov. di Treviso

Re: Dumble SE con GU50 (???)

Messaggio da Kagliostro » 21/10/2023, 16:54

Ciao Domenico

A me pare interessante ed anche non complicato da aggiungere

Ti sembra più comodo con uno switch a levetta rispetto usare prese Jack munite di switch e sfruttare quelli ?

Forse un controllo per gestire la potenza in uscita dalla finale integrata (la GU50) quando si usa l'uscita per un' amplificazione parallela esterna ?

Franco

Avatar utente
Dom
Roger Mayer Jr.
Roger Mayer Jr.
Messaggi: 2034
Iscritto il: 07/09/2013, 15:38
Località: Abruzzo (Te)

Re: Dumble SE con GU50 (???)

Messaggio da Dom » 21/10/2023, 18:00

Kagliostro ha scritto:
21/10/2023, 16:54
...Ti sembra più comodo con uno switch a levetta rispetto usare prese Jack munite di switch e sfruttare quelli ?
...No. Mi rimaneva più comodo disegnarlo cosi con LTSpice. Ma il principio è il medesimo.
Kagliostro ha scritto:
21/10/2023, 16:54
...Forse un controllo per gestire la potenza in uscita dalla finale integrata (la GU50) quando si usa l'uscita per un' amplificazione parallela esterna ?
...Non sarebbe male l'idea. Alla fine mettiamo un master volume.
TRUMBLE SCHEMA 4.3.png

Rispondi