Re:Sviluppiamo un Preamp valvolare su DIYItalia?
Re:Sviluppiamo un Preamp valvolare su DIYItalia?
mg66, te lo fai p2p???
Se si, mi raccomando posta il layout una volta fatto!!!
PS: non ricordo che trafo ti avessi consigliato... Comunque il pre da il meglio di se con circa 370VDC di alimentazione, poi se sono 350 o 380 non fa differenza (provato personalmente).
Se si, mi raccomando posta il layout una volta fatto!!!
PS: non ricordo che trafo ti avessi consigliato... Comunque il pre da il meglio di se con circa 370VDC di alimentazione, poi se sono 350 o 380 non fa differenza (provato personalmente).
Live another day, climb a little higher, find another reason to stay...
Re:Sviluppiamo un Preamp valvolare su DIYItalia?
Eeeeeeeeeeeeeeeeeeeeh?Hades ha scritto: mg66, te lo fai p2p???
La faccio su vetronite nuda e cruda, la sforacchio e ci metto gli occhielli.
Il trafo è questo che rettificato dovrebbe arrivare in prossimità dei 340-350 se non sbaglio.
Quanto al layout appena lo riesco a fare e testare lo posto immediatamente.
Chi semina raccoglie .. ma chi raccoglie deve chinarsi ed allora .. è questione di un attimo.
Re:Sviluppiamo un Preamp valvolare su DIYItalia?
p2p = point to point = quello che vuoi fare tu

Il trafo va bene, dovrebbe arrivare a 340VDC...
Il trafo va bene, dovrebbe arrivare a 340VDC...
Live another day, climb a little higher, find another reason to stay...
Re:Sviluppiamo un Preamp valvolare su DIYItalia?
Purtroppo non ho ancora ricevuto da Banzai i due elettrolitici da 47u e ho qualche difficoltà ad avere una lastra di vetronite abbastanza grande :'(.
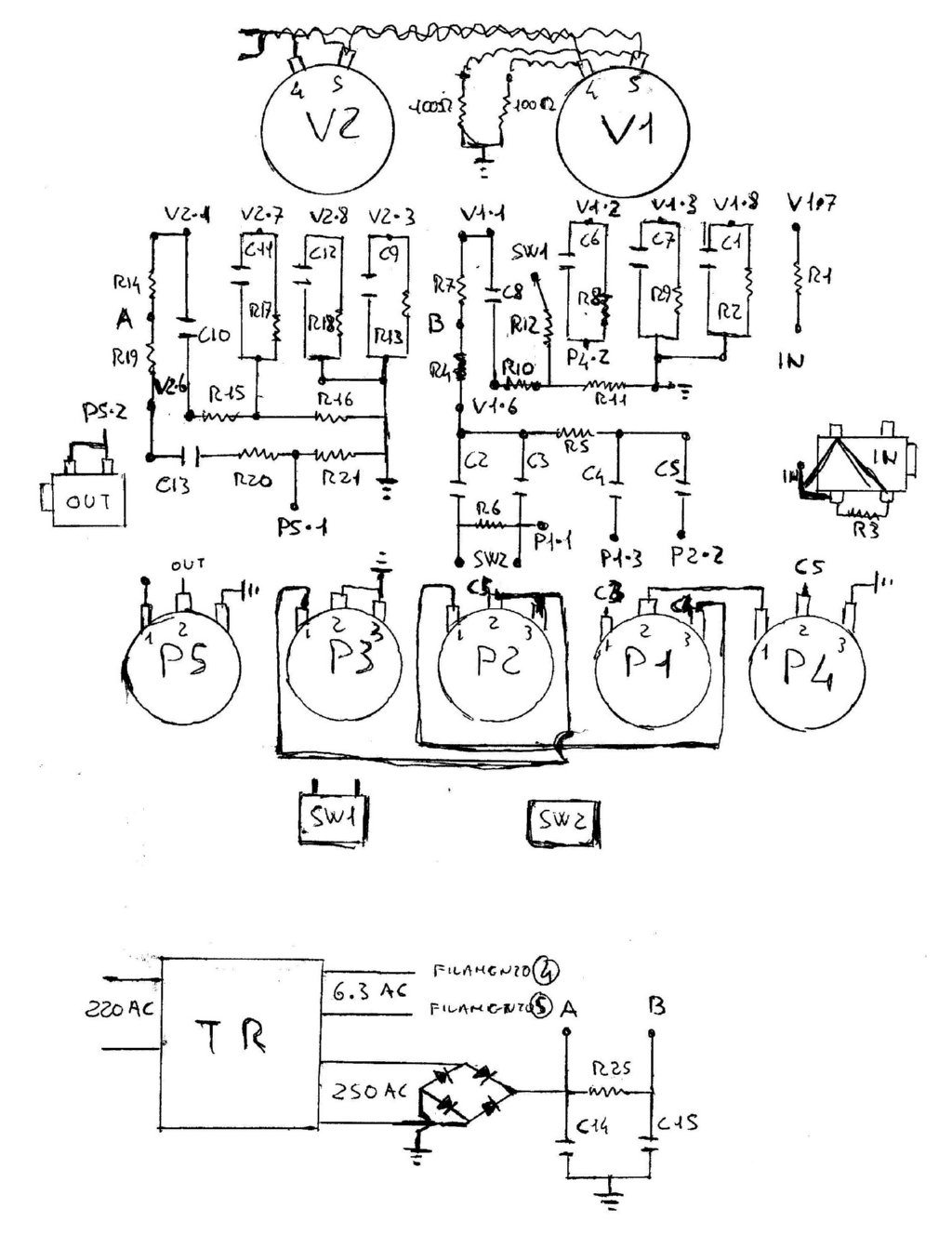
Ho fatto un disegnino più o meno di come dovrebbe venire, mi sembra che non ci siano errori
.
La posizione dei pot è ovviamente ancora da definire, vedrò in un secondo momento dove piazzarli per avere meno metri di cavi in giro.
Ho fatto un disegnino più o meno di come dovrebbe venire, mi sembra che non ci siano errori
La posizione dei pot è ovviamente ancora da definire, vedrò in un secondo momento dove piazzarli per avere meno metri di cavi in giro.
Ultima modifica di mg66 il 06/11/2009, 16:12, modificato 1 volta in totale.
Chi semina raccoglie .. ma chi raccoglie deve chinarsi ed allora .. è questione di un attimo.
Re:Sviluppiamo un Preamp valvolare su DIYItalia?
Riguardandolo ho già visto che non ho scritto che da SW1 si va a V2-2.
Stavo anche valutando, dopo aver visto sul PDF di Roby i vari Tonestack, di eliminare SW2 (anche se potrei fare un TB), di eliminare C2 mettere C3 500pF, C4 e C5 a 22nF, R5 da 33k ed in serie un Trimmer da 50k per selezionare poi a mio gradimento.
Stavo anche valutando, dopo aver visto sul PDF di Roby i vari Tonestack, di eliminare SW2 (anche se potrei fare un TB), di eliminare C2 mettere C3 500pF, C4 e C5 a 22nF, R5 da 33k ed in serie un Trimmer da 50k per selezionare poi a mio gradimento.
Chi semina raccoglie .. ma chi raccoglie deve chinarsi ed allora .. è questione di un attimo.
Re:Sviluppiamo un Preamp valvolare su DIYItalia?
Io ci ho trovato un errore in quel layout: fra C8, R11 e R12 ci va R10 che hai dimenticato per strada. :lol1:

Ma gli elettrolitici da 47u non li puoi recuperare al negozio locale di elettronica? Tanto sono di filtro per l'anodica, e ho provato personalmente che fra marca e marca c'e' soltanto una sottilissima differenza (appena udibile)...
Quel tonestack e' ripreso pari pari da quello del Mark IIC+, ed e' studiato per lavorare fra primo e secondo stadio di amplificazione. SW2 andrebbe switchato assieme a sw1 quando viene inserito il canale crunch per rendere un pochino piu' definito il suono, comunque puoi tranquillamente eliminare C2, R6 e SW2 e fare un classico TMB Fender se piu' ti garba come sound... A me piace cosi' per esempio.
Ocio che gia' con 100k il suono e' parecchio medioso, secondo me con <80k il suono diventa un pasticcio...Puoi sempre mettere un trimmer da 100k/1W e vedere come va con lo standard di 100k.
Il tonestack l'avevamo lasciato un po' volante, in senso che ognuno puo' (anzi, DEVE) provare quello che piu' lo aggrada.
Ricorda i due cap a cavallo fra i pin 1 - 3 e i pin 6 - 8 di V2, quelli smorzano un po' gli alti di troppo. Anche con quelli puoi giocare un po' e vedere come piu' ti piace il suono, io li ho messi da 220pF, puoi provare o cosi' oppure con 470pF, 120pF, 47pF.
Fai un po' di esperimenti!!!
Ma gli elettrolitici da 47u non li puoi recuperare al negozio locale di elettronica? Tanto sono di filtro per l'anodica, e ho provato personalmente che fra marca e marca c'e' soltanto una sottilissima differenza (appena udibile)...
Quel tonestack e' ripreso pari pari da quello del Mark IIC+, ed e' studiato per lavorare fra primo e secondo stadio di amplificazione. SW2 andrebbe switchato assieme a sw1 quando viene inserito il canale crunch per rendere un pochino piu' definito il suono, comunque puoi tranquillamente eliminare C2, R6 e SW2 e fare un classico TMB Fender se piu' ti garba come sound... A me piace cosi' per esempio.
Ocio che gia' con 100k il suono e' parecchio medioso, secondo me con <80k il suono diventa un pasticcio...Puoi sempre mettere un trimmer da 100k/1W e vedere come va con lo standard di 100k.
Il tonestack l'avevamo lasciato un po' volante, in senso che ognuno puo' (anzi, DEVE) provare quello che piu' lo aggrada.
Ricorda i due cap a cavallo fra i pin 1 - 3 e i pin 6 - 8 di V2, quelli smorzano un po' gli alti di troppo. Anche con quelli puoi giocare un po' e vedere come piu' ti piace il suono, io li ho messi da 220pF, puoi provare o cosi' oppure con 470pF, 120pF, 47pF.
Fai un po' di esperimenti!!!
Ultima modifica di Hades il 06/11/2009, 15:16, modificato 1 volta in totale.
Live another day, climb a little higher, find another reason to stay...
Re:Sviluppiamo un Preamp valvolare su DIYItalia?
Purtroppo a Genova non ci sono molti negozi di elettronica ed il primo decente è a 20 Km da casa, per cui mi è più comodo farmeli arrivare.
Sul fatto che mancasse qualcosa ci avrei scommesso il papero, comunque ho ripostato l'immagine con R10 al suo posto, grazie per la correzione.
A questo punto provo con il trimmer da 100k e poi vedo con il tester qual'è la res ottimale.
Per le prove mi devo attrezzare la cantina, dato che ho un TDA2030 e un trafo 220 PRI - 12 - 12 SEC mi faccio un finale veloce-veloce e risolvo.
Quanto ai cap (C6 e C11) sullo schema sono da 470pf, guardo cosa ho in cantina e faccio due prove, il tutto, ovviamente, quando banzai mi manda C14 e C15.

Sul fatto che mancasse qualcosa ci avrei scommesso il papero, comunque ho ripostato l'immagine con R10 al suo posto, grazie per la correzione.
A questo punto provo con il trimmer da 100k e poi vedo con il tester qual'è la res ottimale.
Per le prove mi devo attrezzare la cantina, dato che ho un TDA2030 e un trafo 220 PRI - 12 - 12 SEC mi faccio un finale veloce-veloce e risolvo.
Quanto ai cap (C6 e C11) sullo schema sono da 470pf, guardo cosa ho in cantina e faccio due prove, il tutto, ovviamente, quando banzai mi manda C14 e C15.
Chi semina raccoglie .. ma chi raccoglie deve chinarsi ed allora .. è questione di un attimo.
Re:Sviluppiamo un Preamp valvolare su DIYItalia?
..e voi da quando avete riesumato il thread? 
il progetto comunitario è svanito, speriamo torni quantomento utile ai singoli volenterosi!
il progetto comunitario è svanito, speriamo torni quantomento utile ai singoli volenterosi!
Adoro le donne con un passato, e gli uomini con un futuro.
Re:Sviluppiamo un Preamp valvolare su DIYItalia?
Magari solo un pò assopito, comunque se per i trafo esiste ancora il gruppo io non mi tiro certo indietro
un trafo serve sempre.
Magari a lavori conclusi (devo anche risistemarmi una chitarra) facciamo due sample e vediamo anzi sentiamo
.
Magari a lavori conclusi (devo anche risistemarmi una chitarra) facciamo due sample e vediamo anzi sentiamo
Chi semina raccoglie .. ma chi raccoglie deve chinarsi ed allora .. è questione di un attimo.
Re:Sviluppiamo un Preamp valvolare su DIYItalia?
mg66, non intendevo c6 e c11, quelli lasciali da 470pF... Quelli che dicevo io sono due cap che avev(o/amo) omesso nello schema, vanno a cavallo fra anodo e catodo dei triodi della seconda valvola... 
Live another day, climb a little higher, find another reason to stay...
Re:Sviluppiamo un Preamp valvolare su DIYItalia?
Biricchini 

Chi semina raccoglie .. ma chi raccoglie deve chinarsi ed allora .. è questione di un attimo.
Re:Sviluppiamo un Preamp valvolare su DIYItalia?
Bhe questa tradizione l'ha iniziata la Mesa di mettere in giro schemi sbagliati per evitare i cloni...mg66 ha scritto: Biricchini
![]()
Noi abbiamo soltanto imparato!!!
Live another day, climb a little higher, find another reason to stay...
Re:Sviluppiamo un Preamp valvolare su DIYItalia?
Il motivo per il quale ho postato uno schema non completo era semplice:
doveva essere un preamp la cui commercializzazione del kit doveva essere gestita da diyitalia.
Ho quindi pensato a due dei componenti più significativi per il suono, ed al tempo stesso di facile implementazione "onboard".
Nel momento in cui diyitalia ha deciso di non commercializzare il kit, ho pubblicato le due omissioni.
doveva essere un preamp la cui commercializzazione del kit doveva essere gestita da diyitalia.
Ho quindi pensato a due dei componenti più significativi per il suono, ed al tempo stesso di facile implementazione "onboard".
Nel momento in cui diyitalia ha deciso di non commercializzare il kit, ho pubblicato le due omissioni.
Adoro le donne con un passato, e gli uomini con un futuro.
Re:Sviluppiamo un Preamp valvolare su DIYItalia?
Ho la brutta abitudine di leggere troppo velocemente per cui spesso mi perdo delle parti, tra l'altro il cap tra anodo e catodo l'ho già messo nella JCM. 
Per il sito sarebbe stato un buon modo di foraggiarsi, peccato. :'(
Comunque, per lo sforzo e la disponibilità, non solo per questo progetto, vi beccate un bel +1.

Per il sito sarebbe stato un buon modo di foraggiarsi, peccato. :'(
Comunque, per lo sforzo e la disponibilità, non solo per questo progetto, vi beccate un bel +1.
Chi semina raccoglie .. ma chi raccoglie deve chinarsi ed allora .. è questione di un attimo.
Re:Sviluppiamo un Preamp valvolare su DIYItalia?
Grazie! 
Adoro le donne con un passato, e gli uomini con un futuro.


