Matchbox
Matchbox
Ciao a tutti, mi chiedevo se qualcuno avesse realizzato il Matchbox (simulatore mi Matchless) e se si, come suona.
I Matchless sono ampli splendidi, la cosa mi tenta.
Per chi volesse dare un occhio allo schema...
http://www.4thlevelmedia.com/stompboxes.html
I Matchless sono ampli splendidi, la cosa mi tenta.
Per chi volesse dare un occhio allo schema...
http://www.4thlevelmedia.com/stompboxes.html
Re: Matchbox
ehehe Eugenio !
Non confrontiamo MAI un ampli valvolare 'vero' con un 'simulatore' a jFet !
Per quanto possa avere un bellissimo suono, il simulatore a jFet, non credo che ci azzecchi un granchè con l'originale (sia chiaro pure qui posso sbagliarmi !!!)

Non confrontiamo MAI un ampli valvolare 'vero' con un 'simulatore' a jFet !
Per quanto possa avere un bellissimo suono, il simulatore a jFet, non credo che ci azzecchi un granchè con l'originale (sia chiaro pure qui posso sbagliarmi !!!)

Antonello
www.antonellocatanese.net
www.myspace.com/virutrio
****************************************
Tom Hess
www.antonellocatanese.net
www.myspace.com/virutrio
****************************************
Tom Hess
Re: Matchbox
Ah beh, su questo non ci piove!
Allora sarebbe bello un pedalino a valvole preso dallo schema di un Matchless (dei quali si trovano gli schemi).
Che be dici?
Avevo già pensato di costruirne uno (di ampli clone Match) ma poi non saprei che farmene...Sono innamorato di Orange e ce l'ho...Di certo di andarmene in giro a suonare con due ampli non ne ho voglia, meglio che studi musica va...
Allora sarebbe bello un pedalino a valvole preso dallo schema di un Matchless (dei quali si trovano gli schemi).
Che be dici?
Avevo già pensato di costruirne uno (di ampli clone Match) ma poi non saprei che farmene...Sono innamorato di Orange e ce l'ho...Di certo di andarmene in giro a suonare con due ampli non ne ho voglia, meglio che studi musica va...
Re: Matchbox
Eugenio .... eh eh eh dopo l'Atomic16 .......Eugenio ha scritto: Avevo già pensato di costruirne uno (di ampli clone Match) ma poi non saprei che farmene...Sono innamorato di Orange e ce l'ho...![]()

Senza dubbio
Antonello
www.antonellocatanese.net
www.myspace.com/virutrio
****************************************
Tom Hess
www.antonellocatanese.net
www.myspace.com/virutrio
****************************************
Tom Hess
- Texas Special
- Diyer Eroe

- Messaggi: 662
- Iscritto il: 28/05/2006, 21:38
Re: Matchbox
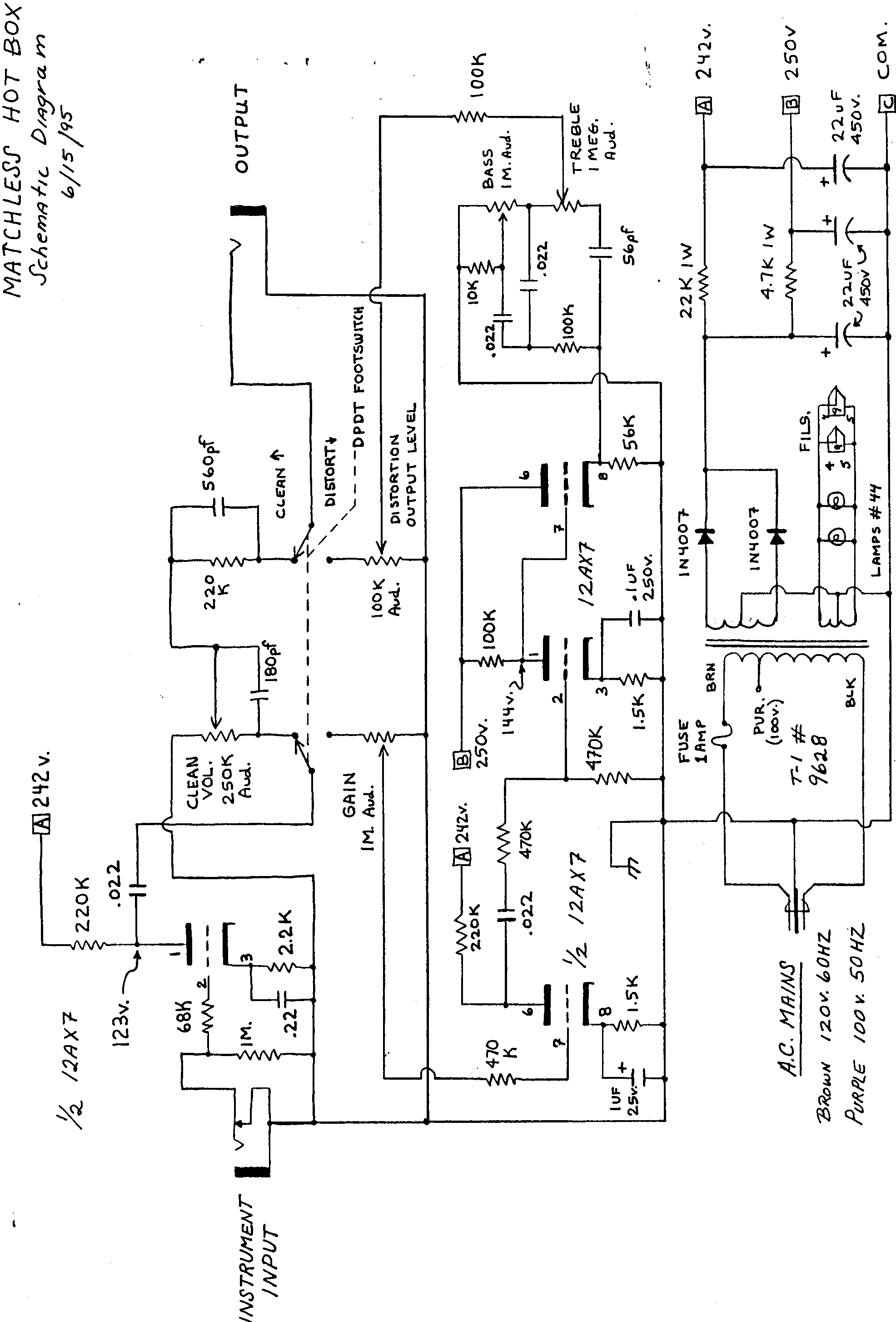
Comunque della Match*** esiste l'Hotbox, un pedalino (o meglio pedalone) con due doppi triodi.
Se qualcuno lo vuole realizzare fornisco un layout, meglio se qualcuno realizza una pcb.

Se qualcuno lo vuole realizzare fornisco un layout, meglio se qualcuno realizza una pcb.
«Se un uomo non è disposto a rischiare per le sue idee…. o le sue idee non valgono niente o non vale niente lui»
Re: Matchbox
OH CACCHIO!
Ma guarda tu che meraviglia!
Un PCB sarebbe un sacrilegio, si può fare una bella turret board, perchè inquinarla con un PCB?
LO VOGLIO!
Hai le specifiche dei componenti?
E' davvero una figata, adoro le turret...
Ma guarda tu che meraviglia!
Un PCB sarebbe un sacrilegio, si può fare una bella turret board, perchè inquinarla con un PCB?
LO VOGLIO!
Hai le specifiche dei componenti?
E' davvero una figata, adoro le turret...
Re: Matchbox
Ho trovato l'elenco componenti su GGG, mi date una mano a farlo? 
Mi sta venendo da piangere...
Mi sta venendo da piangere...
- Texas Special
- Diyer Eroe

- Messaggi: 662
- Iscritto il: 28/05/2006, 21:38
Re: Matchbox
Guarda se ti basta... 
- Allegati
-
- instructions.txt
- (1.07 KiB) Scaricato 236 volte
-
- Bill of.txt
- (1.29 KiB) Scaricato 231 volte
«Se un uomo non è disposto a rischiare per le sue idee…. o le sue idee non valgono niente o non vale niente lui»
Re: Matchbox
Se ho capito bene serve un trasformatore con due secondari: uno da 120V e uno da 100V.
Mi sa che non lo troverò mai! Consigli?
Mi sa che non lo troverò mai! Consigli?
Re: Matchbox
Per fare l'Hotbox serve il 'tipico' trasformatore Hammond 369X 
Antonello
www.antonellocatanese.net
www.myspace.com/virutrio
****************************************
Tom Hess
www.antonellocatanese.net
www.myspace.com/virutrio
****************************************
Tom Hess
Re: Matchbox
EL84, GRAZIE
Il 269X è quello per la 110V e il 369X quello per la 220V, giusto?
Credo che questo pedale mi farà impazzire...
E' la turret che mi rapisce...
Il 269X è quello per la 110V e il 369X quello per la 220V, giusto?
Credo che questo pedale mi farà impazzire...
E' la turret che mi rapisce...
Re: Matchbox
Ciao,
a questo indirizzo potete trovare un tutorial per realizzare l'hot box su pcb, compreso il power supply, preparare e forare lo chassis
http://thejaffes.org/rory/hotbox/hotbox.php
Io non ho ancora avuto modo di controllarlo, fatelo voi,,,magari comunicate eventuali errori
poi realizzatelo
a questo indirizzo potete trovare un tutorial per realizzare l'hot box su pcb, compreso il power supply, preparare e forare lo chassis
http://thejaffes.org/rory/hotbox/hotbox.php
Io non ho ancora avuto modo di controllarlo, fatelo voi,,,magari comunicate eventuali errori
poi realizzatelo
- gnogno
- Braccio destro di Roger Mayer

- Messaggi: 1986
- Iscritto il: 15/05/2006, 20:34
- Località: Lucerna
Re: Matchbox
Mi sa che questa è una versione a basso voltaggio, perchè ne lpower supply che ha allegato il tipo c'è un regolatore di tensione a 12v, però non è che ci abbia perso tanto tempo a leggere...poi vi so ridire!
[size=40][b]La funzione Cerca è tua amica[/b][/size]
Re: Matchbox
Ciao a tutti,
stavo cercando di buttar giù la lista della spesa per fare sto pedalone ma ho notato delle forti discrepanze tra:
schema
lista spesa GGG
layout
Cosa devo prendere per buono?
Il layout mi sembra il più simile ad un pedale matchless, ma non capisco dove si colleghino i led e come funzionino quelle due parti a sinistra apparentemente scollegate dal circuito principale.
Avete delle idee?
Per seguire il layout che alim. devo prendere secondo voi?
stavo cercando di buttar giù la lista della spesa per fare sto pedalone ma ho notato delle forti discrepanze tra:
schema
lista spesa GGG
layout
Cosa devo prendere per buono?
Il layout mi sembra il più simile ad un pedale matchless, ma non capisco dove si colleghino i led e come funzionino quelle due parti a sinistra apparentemente scollegate dal circuito principale.
Avete delle idee?
Per seguire il layout che alim. devo prendere secondo voi?
Re: Matchbox
Scusa Eugenio ma .... con riferimento a quale dei layout postati !?
Il primo, quello del sito con la PCB o ... quale !?
RiCiao
PS i LED indicanti l'attivazione/disattivazione del pedale saranno fatti con il Millennium bypass
Ripeto: per fare questo pedale ti serve un alimentatore come l'Hammond 369EX (che è la versione con primario a 220-240)
Il primo, quello del sito con la PCB o ... quale !?
RiCiao
PS i LED indicanti l'attivazione/disattivazione del pedale saranno fatti con il Millennium bypass
Ripeto: per fare questo pedale ti serve un alimentatore come l'Hammond 369EX (che è la versione con primario a 220-240)
Ultima modifica di EL84 il 10/10/2006, 12:40, modificato 1 volta in totale.
Antonello
www.antonellocatanese.net
www.myspace.com/virutrio
****************************************
Tom Hess
www.antonellocatanese.net
www.myspace.com/virutrio
****************************************
Tom Hess

