Se il cabinet è quello e l'altoparlante originale funziona e se, come ho capito, non vuoi trasformare in cabinet per ridurlo ad una piccola testata
---
Per quanto riguarda l'inserimento del jack hai un po' di alternative
O fori lo chassis metallico dalla parte posteriore e installi lì la presa accorciando un po' la parte in legno che chiude il cabinet
(vedi foto)
e fai come nella foto un cavetto con jack maschio per collegare l'altoparlante che già c'è
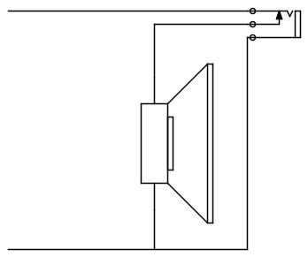
o potresti evitare di tagliare il pannello di legno
ed usare una presa jack con switch in modo che l'altoparlante di serie sia collegato e disinserito all'inserimento del jack di una cassa esterna
(vedi schemino allegato)

- Fender Frontman 15rext Speaker Mod.jpg (7.64 KiB) Visto 14358 volte
--
Se invece che forare lo chassis metallico vuoi mettere la presa jack sul pannello posteriore in legno (quello mobile)
ti sconsiglio di mettere il jack direttamente sul legno, il pannello è sempre troppo grosso ed il lavoro viene male
se proprio vuoi, allora fai un foro un po' più grande e ci metti un "tappo" metallico (vedi apposito lamierino qui di seguito)
http://www.tube-town.net/ttstore/Parts- ... :3156.html
Nulla vieta che, se non vuoi ordinare il lamierino, tu non possa prendere un pezzetto di lamiera qualsiasi e forarlo per ricavare la flangia che ti serve, in questo caso potresti anche pensare, per questioni di estetica, di montare la flangia dal lato interno del pannello del cabinet, fare un foro sul pannello che sia sufficiente a far passare il corpo della presa jack (o pochissimo di più) e mascherarne i contorni (del foro) con un po' di nero spray - forse dal feramenta puoi trovare una rondella metallica adatta ad essere trasformata in flangia
K
p.s.: Stando al manuale l'altoparlante di serie dovrebbe essere da 8ohm